Kẹp ống đôi (Twin Series Tube Pipe Clamps) loại nhẹ dùng để cố định hai ống thủy lực hoặc khí nén song song với nhau. Mặt đế được hàn cứng vào vách hoặc siết vào thanh ray.

Kẹp đôi ống tuy ô thủy lực nổi tiếng với khả năng giảm tiếng ồn, giảm rung lắc, giảm sự mài mòn, gia tăng tuổi thọ cho đường ống. Kích thước sử dụng linh hoạt từ 6mm – 28mm tiết kiệm thời gian cho công việc tìm kiếm vật tư.
Thông số
- Tên gọi: kẹp ống đôi
- Số ống kẹp: hai
- Phân loại: nhẹ (đế mỏng, khung mỏng)
- Tiêu chuẩn: DIN 3015/3
- Vật liệu: Polypropylene (PP) & thép carbon mạ kẽm
- Áp suất: ~ 300bar
- Nhiệt độ: -30°C đến +90°C
- Đóng gói: bộ

| Item | Tube size | Group | Dimensions (mm) | |||||
| DN (mm) | Inch | A | B | C | D | S | ||
| 1 | 6 | 1 | 37 | 20 | 16.5 | 41 | 0.6 | |
| 2 | 8 | |||||||
| 3 | 10 | |||||||
| 4 | 12 | |||||||
| 5 | 15 | 2 | 55 | 29 | 18.5 | 44.5 | 0.7 | |
| 6 | 16 | |||||||
| 7 | 18 | |||||||
| 8 | 20 | 3 | 70 | 36 | 23.5 | 54.5 | 0.7 | |
| 9 | 25 | |||||||
| 10 | 28 | |||||||
Ngoài ra chúng tôi còn cung cấp size 13.5mm, 17.2mm, 26.9mm.
Ống 4mm đang có kế hoạch nhập hàng.
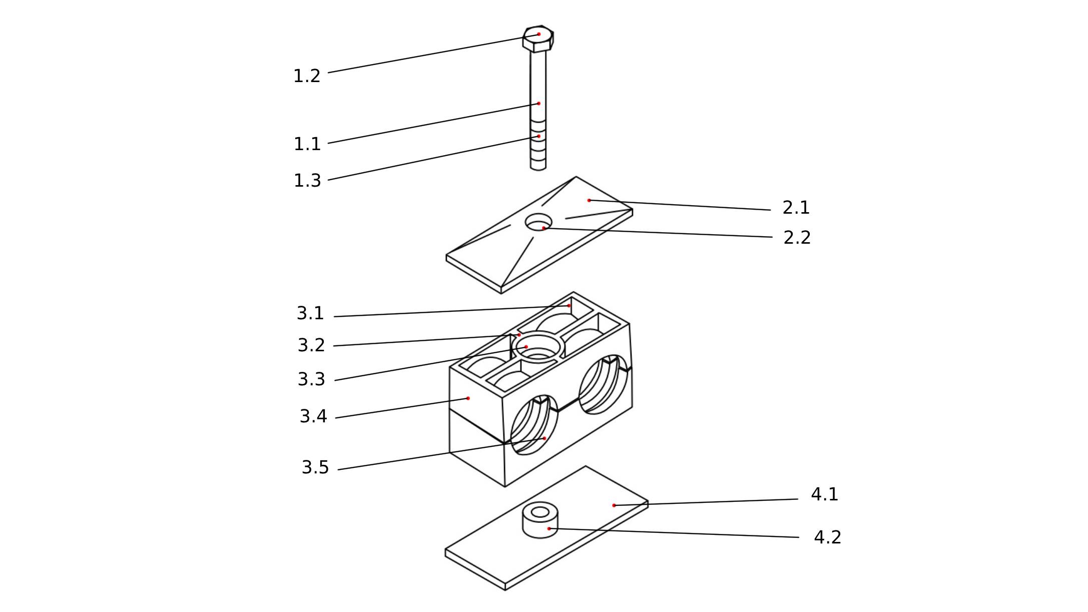
Cấu tạo

Kẹp đôi ống cứng thủy lực (tube hoặc pipe) bao gồm:
- Bu lông(1.1): đã được cấp bền (1.2 – có ghi số tại đây) rất cao, ren hệ mét (1.3) dùng để xỏ qua nắp kẹp (2.), miếng kẹp (3.), đế kẹp (4.), tạo khối cứng vững.
- Nắp kẹp (2.1): hình dạng như mái nhà, vật liệu thép, có lỗ ở giữa (2.2) siết bu lông.
- Miếng kẹp (3.4): ruột rỗng (3.1), có gân tăng cứng(3.2), chính giữa có khoan lỗ (3.3) siết bu lông, 2 bên có 2 lỗ (3.5) dạng elip cố định đường ống, vật liệu nhựa PP màu xanh lá.
- Đế kẹp (4.1): như miếng thép hình chữ nhật có lỗ ở giữa (4.2) chứa các vòng ren.
Ưu điểm kẹp đôi
- Dễ thay thế đường ống, chỉ cần tháo bu lông là lấy ống ra được liền.
- Thuận tiện trong việc bảo trì vì đường ống được sắp xếp khoa học.
- Dễ dàng tùy chọn lắp đặt gá vào hoặc hàn cứng.
- Dễ tìm kiếm & thay thế với giá thành rẻ và phổ biến với chuẩn DIN 3015
- Giảm khối lượng tổng thể trên thiết bị, chi tiết kẹp ống đôi có khối lượng nhẹ hơn 2 cái kẹp đơn.
Lắp đặt kẹp ống đôi

Ngoài cách lắp đặt như hình, bạn có thể hàn trực tiếp đế kẹp vào ray để giữ vững. Với hình ảnh trên, đế kẹp được lắp đặt dưới cùng thay vì hàn cứng vào ray.
Ứng dụng kẹp ống song song

- Cố định song song ống cứng thủy lực & khí nén trên tàu biển, xe cơ giới, máy dập, khuôn đúc, hệ thống truyền khí v.v.
- Mô hình về khả năng chịu tải trong phòng thí nghiệm





















admin –
khách hàng phản ảnh rất tốt cô bác nghen